歡迎光臨山東新澤儀器有限公司官方網站 CEMS在線監測 氣體分析儀 過程氣分析系統 進口分析儀表 聯系我們
紅外線分析儀
紅外線一氧化碳CO氣體分析儀

紅外線一氧化碳CO氣體分析儀

  • 品牌:SINZEN(新澤儀器)
  • 型號:S2000型
  • 廠家:山東新澤儀器有限公司
產品說明

一、S2000型一氧化碳分析儀產品簡介

 

    S2000型CO分(fen)析儀(yi),該儀(yi)器(qi)屬(shu)于不分(fen)光式紅(hong)外(wai)線(xian)氣體(ti)分(fen)析器(qi),其工(gong)作原理是(shi)基于某些氣體(ti)對紅(hong)外(wai)線(xian)的選擇(ze)性(xing)吸收。儀(yi)器(qi)采用單光源、單管隔(ge)半氣室及先(xian)進(jin)的檢測器(qi),工(gong)藝精湛、分(fen)析精度(du)高、穩定性(xing)好。采用先(xian)進(jin)的數字處(chu)理技術(shu),全新(xin)的液晶顯示(shi)畫面。

 

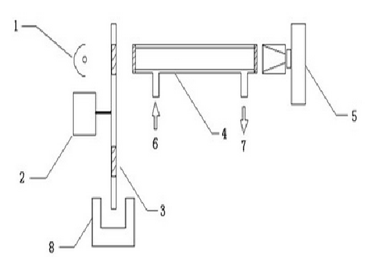
CO紅外線氣體分析儀原理圖-山東新澤儀器有限公司

CO紅(hong)外線(xian)氣體分析儀原理圖

1.紅外光源   2.調制馬達   3.濾光片(pian)    4.分析氣室    5.紅外探測器    6.進(jin)氣口    7.出氣口    8.相位檢測器

 

二、S2000一氧化碳分析儀用途及應用范圍

 

   S2000紅外線氣體(ti)分析(xi)器(qi)用于連續分析(xi)CO、一(yi)種(zhong)(zhong)氣體(ti)在多種(zhong)(zhong)氣體(ti)混合物中的含(han)量(liang)。

  產品應用領域廣泛(fan):

1.用于大氣及污染(ran)源排放(fang)等環保監測(ce)

2.用于石油、化(hua)工、電站等工業(ye)過程控制

3.用(yong)于農(nong)業、醫療衛生和科研(yan)等領域

4.實驗室各種燃(ran)燒試驗的氣體含量測(ce)定

5.用于公共場所的空氣監測

 

三、S2000一氧化碳分析儀特點

 

1.標準19機(ji)箱(xiang),能安裝在成套設備中(zhong)

2.大屏幕LCD顯示,全中文菜單操(cao)作(zuo),且有操(cao)作(zuo)提(ti)示功能,操(cao)作(zuo)簡單、高效

3.手(shou)動(dong)(dong)/自動(dong)(dong)零(ling)/終點校準、

4.全(quan)數(shu)字化(hua)處(chu)理(li),更加準確穩定(ding)可(ke)靠

5.標準RS232數字通訊功能,可(ke)直接(jie)與電(dian)腦或(huo)DCS連(lian)接(jie)

6.輸(shu)出為同(tong)步(bu)、隔離的(0/2/4-20)mA及(0/0.5/1-5)V信號可選,默認(ren)為(4-20)mA和(1-5)V,電(dian)流輸(shu)出負載400兆(zhao)歐;,電(dian)壓輸(shu)出負載250兆(zhao)歐;

7.具有完(wan)全(quan)隔離的校準、故障(zhang)、報警、的輸出(chu)信號

 

四、S2000一氧化碳分析儀主要技術數據

 

1.測量范圍:CO:最小(xiao)量程(cheng):0~2000(ppm);最大(da)量程(cheng)0~100%;

2.精    度:≤2%F.S.;

3.穩(wen) 定 性:零點漂(piao)移:≤1%F.S./7d;

4.量程漂移:≤1%F.S./7d;

5.樣氣(qi)壓力(li):0.1Mpa,入口(kou)壓力(li)0.25Mpa;

6.輸出信(xin)號:4-20mA或(huo)0-10mA DC可選;

7.觸點容(rong)量:120VAC,1A   24VDC,1A;

8.工作(zuo)電(dian)源:220V±10%,50Hz±5%;

9.工作環(huan)境:溫度:-5℃~+45℃;

10.濕    度(du):≤90%RH;

11.重    量:約6.5kg。



優質的服務流程

· quality of service processes ·

掃一掃,微信關注掃一掃,微信關注

Copyright ? 2015-2023 山東新澤儀器有限公司 版權所有
全國熱線:400-050-3910
E-mail:xinzeyiqi@163.com
地址:濟南市槐蔭區太平河南路1567號均和云谷匯智港6號樓
? XML地圖



受信任網站


逛了這么久,何不分析儀工程師(shi)?1分鐘留下信(xin)息我們將給(gei)您出具解決方案!

在線咨詢

Online Consulting

在線客服
掃(sao)一掃(sao),微信關注

咨詢熱線

400-050-3910